|
|
当前位置:首页 > 产品中心 >
VC-A型手拉葫芦 VC-A type chain block |
|
| 产品名称: |
VC-A型手拉葫芦 VC-A type chain block |
| 简要说明: |
VC-A型手拉葫芦 |
|
| 详细介绍: |
|
  技术参数:
|
型号 |
VC-0.5A |
VC-1A |
VC-1.5A |
VC-2A |
VC-3A |
VC-5A |
VC-10A |
VC-20A |
VC-30A |
VC-50A |
|
额定起重量 |
0.5 |
1 |
1.5 |
2 |
3 |
5 |
10 |
20 |
30 |
50 |
|
标准起重高度 |
2.5 |
2.5 |
2.5 |
3 |
3 |
3 |
3 |
3 |
3 |
3 |
|
实验载荷 |
7.5 |
15 |
22.5 |
45 |
45 |
62.5 |
125 |
250 |
375 |
625 |
|
最大拉力 |
200(20.5) |
320(32.5) |
360(36.5) |
365(370 |
385(39) |
465(44.3) |
435(44.3) |
435*2(44.3*2) |
435*2(44.3*2) |
435*2(44.3*2) |
|
起重链条直径 |
5*15 |
6.3*18 |
7.1*21 |
8*24 |
7.1*21 |
9*2.7 |
9*27 |
9.0*27 |
9.0*27 |
|
|
起重链条提升1米手拉链条拉动的距离(mm) |
32 |
40 |
72 |
72 |
144 |
158 |
316 |
63.6*2 |
948*2 |
1738*2 |
|
净重Net weight(kg) |
8.4 |
11 |
16.2 |
18.5 |
25.6 |
42.8 |
79.5 |
193 |
220 |
1095 |
|
提升高度每增加1米所增加的重量(kg) |
1.7 |
1.7 |
2.3 |
2.3 |
3.7 |
5.6 |
9.7 |
19.4 |
26.4 |
48.4 |
|
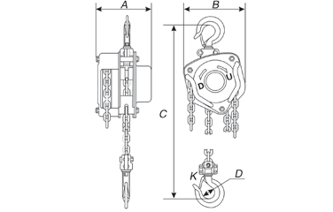
主要尺寸
(mm) |
A |
131 |
140 |
161 |
161 |
161 |
183 |
207 |
215 |
350 |
406 |
|
B |
127 |
158 |
187 |
187 |
210 |
253 |
398 |
650 |
680 |
962 |
|
C |
270 |
317 |
399 |
414 |
465 |
636 |
798 |
890 |
1380 |
2578 |
|
D |
35 |
40 |
45 |
50 |
58 |
64 |
85 |
110 |
110 |
170 |
|
K |
30 |
34 |
38 |
41 |
18 |
52 |
64 |
85 |
85 |
130 |
|
净包装尺寸长 *宽* 高(cm) |
22*15*19.5 |
23*18*19.5 |
28*21*24 |
28*21*24 |
32*21*26 |
40*21*21 |
64*21*21 |
64*38*64 |
72*50*68 |
110*100*130 |
|
|
|