返回首页     加入收藏     设为首页
首页   |  企业简介   |  荣誉资质   |  企业理念   |  企业资讯   |  产品中心   |  售后服务   |  在线留言   |  联系我们
 手拉葫芦
 手扳葫芦
 单轨行车
 电动葫芦
 起重滑车
 链条、吊索具
 其它产品
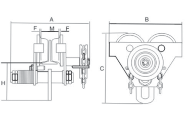
当前位置:首页 > 产品中心 > GCL-B手拉小车
点击放大图
产品名称: GCL-B手拉小车
简要说明: GCL-B手拉小车
详细介绍

 型号

GCL0.5

GCL1

GCL1.5

GCL2

GCL3

GCL5

GCL10

 额定起重量 (吨)

0.5

1

1.5

2

3

5

10

 试验载荷 (吨)

0.735

1.471

2.206

2.942

4.413

6.129

12.258

 能通过的最小弯道半径(米)

0.9

1

1

1.1

1.3

1.4

1.7

 主要尺寸 (毫米)

A

242.5

245

279.5

179.5

344

362

402

B

170

206

228

240

282

327

389

C

187

206

236

243

321

393

490

H

105

109

125

133

179

220

275

F

≈3

≈3

≈3

≈3

≈3

≈3

≈3

 推荐用工字钢

68-94

68-100

88-118

94-124

116-140

142-180

142-180

 净重 (公斤)

11.8

14.7

17.5

17.5

34.5

53

88



版权所有:杭州力英起重机械有限公司 电话:0571-89161380 89161391 传真:0571-89161381
地址:杭州市余杭区新洲路66号 邮箱:info@chinachainblock.com 浙ICP备13008399号